¹«Á¦ ¹®¼­
   
ºê·ÎµåÄ¿¹Â´ÏÄÉÀÌ¼Ç Å×Å©³î·¯Áö
 

Home > Àü»ê½Ç±¸Ãà > ÀÚµ¿ ¼ÒÈ­ ¼³ºñ
 
 
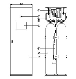
Á¦Ç°¸í : ijºñ³ÝÇü È£½º¸±
 
 
        Æ¯ ¡
HALON, CO2 »ç¿ëÇÏ¿© ÃʱâÈ­Àç Áø¾ÐÀ» À§ÇÑ ¼ÒÈ­±âÀÔ´Ï´Ù.

¹æÈ£±¸¿ª Á߽ɿ¡ ¼³Ä¡ÇÏ¿© È­Àç ½Ã È£½º¸¦ ¼ÒÈ­´ë»ó¹°±îÁö ²ø¾î´ç±â¾î Á÷Á¢
¹æÃâÇÏ¿© ¼ÒÈ­ÇÏ´Â ¹æ½ÄÀÔ´Ï´Ù.

¼ÒÈ­¾àÁ¦°¡ °¡½ºÀ̹ǷΠ¼ÒÈ­·ÂÀÌ ¿ì¼öÇϸç, ¼ÒÈ­ ÈÄ ÀÜ¿©¹°ÀÌ ³²Áö ¾ÊÀ¸¹Ç·Î
°í°¡ ÀåºñÀÇ ¼Õ½ÇÀ» ÃÖ¼ÒÈ­ÇÒ ¼ö ÀÖ½À´Ï´Ù.

È£½ºÀÇ ±æÀ̰¡ 15m(HALON 20m)·Î ±¤¹üÀ§ÇÑ Áö¿ªÀ» ¼ÒÈ­ÇÒ ¼ö ÀÖ½À´Ï´Ù.